您的位置:首页 > CAD教程 > CAD教程:简单教你绘制三维实体机械零件图 返回首页

CAD教程:简单教你绘制三维实体机械零件图

时间:2024-04-14 22:12:53  作者:彭老师

简单教你绘制三维实体机械零件图

效果图:

CAD教程:简单教你绘制三维实体机械零件图第1步 

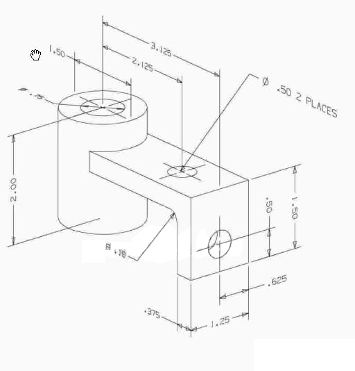
尺寸图:

  CAD教程:简单教你绘制三维实体机械零件图第2步


第1步:点击视频菜单--三维视图---府视图,绘制以下两个圆的平面图:(如图1)

CAD教程:简单教你绘制三维实体机械零件图第3步

第二步:用REG命令,对两小圆进行面域,请看以下的效果。(如图2)

CAD教程:简单教你绘制三维实体机械零件图第4步

第三步:用EXT 命令,进行对两个圆的面进行实体拉伸,高度为2mm 然后点击视频菜单----三维视图---东北等轴测 请看以下效果(如图3)

CAD教程:简单教你绘制三维实体机械零件图第5步 

共有 4 页 查看页: 1 2 3 4   
 

上一个教程:用CAD绘制三维实体之机械零件练习题一
下一个教程:AutoCAD绘制三维机械零件图