您的位置:首页 > SolidWorks教程 > solidworks两侧对称拉伸的练习 返回首页

solidworks两侧对称拉伸的练习

时间:2024-06-25 20:51:38  作者:彭老师

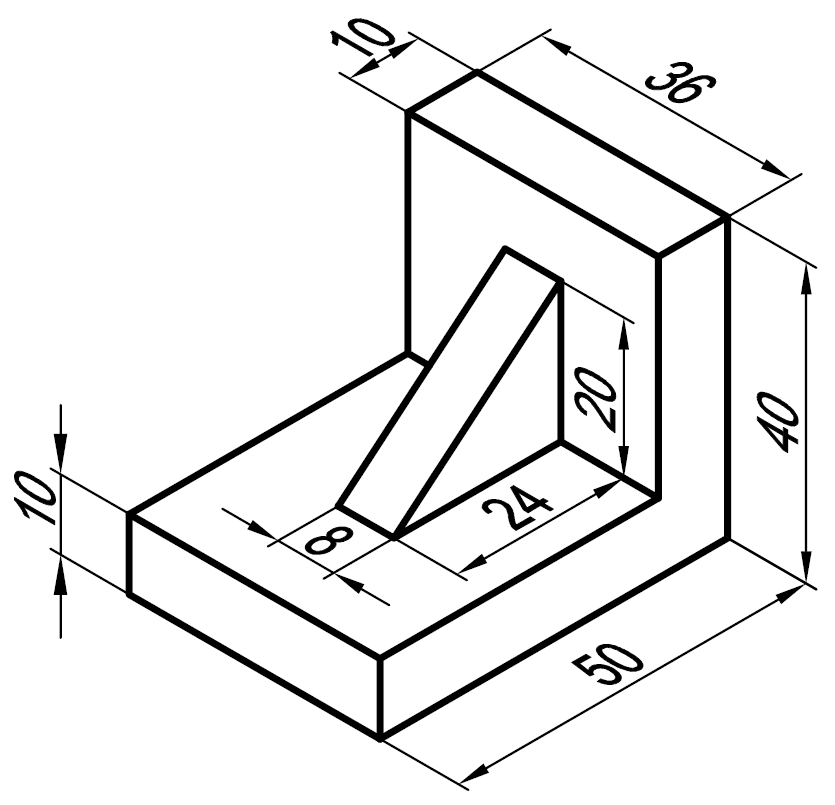
solidworks两侧对称拉伸的练习的方法,具体操作过程步骤如下,希望能帮助到大家!

1、CAD实体图形效果。

solidworks两侧对称拉伸的练习第1步

2、选择solidworks的右视基准面,点击拉伸凸台/基体。

solidworks两侧对称拉伸的练习第2步

3、然后使用直线工具,绘制下面的草图出来。尺寸如下:

solidworks两侧对称拉伸的练习第3步

4、退出草图后,进入凸台拉伸设置,方向:两侧对称,距离设置36,点击确定。

solidworks两侧对称拉伸的练习第4步

5、再一次选择solidworks的右视基准面,点击拉伸凸台/基体。

solidworks两侧对称拉伸的练习第5步

6、绘制一个三角形出来,并标出对应的尺寸。再退出草图即可。

solidworks两侧对称拉伸的练习第6步

7、然后还是设置两侧对称方向,距离设置8mm,点击确定。

solidworks两侧对称拉伸的练习第7步

8、这样就能完成solidworks两侧对称拉伸的练习。

solidworks两侧对称拉伸的练习第8步


  

上一个教程:solidworks拉伸切除的练习
下一个教程:SOLIDWORKS如何进行两侧对称薄壁特征拉伸